上理主页
联系我们
English
旧版网站
首页
学院概况
学院简介
发展历程
学院领导
机构设置
师资队伍
教授
副教授
讲师
党务公开
组织架构
党建动态
党员教育
政策文件
公告公示
院务公开
教授委员会
学术委员会
日常管理机构
制度建设
议事机构
教育教学
本科
研究生
创新创业
实验中心
科学研究
科研概况
科研团队
科研平台
科研成果
学生工作
学生工作队伍
学生工作动态
团委学生会
学生社团
学科建设
学科授予点
一流学科
硕士导师
博士导师
招生就业
招生信息
就业指导
就业信息
国际合作
国际合作交流...
本科合作项目
研究生合作项...
国际学术会议
相关文件
教工之家
组织架构
规章制度
教工风采
工会动态
校友工作
机构设置
校友风采
校友基金
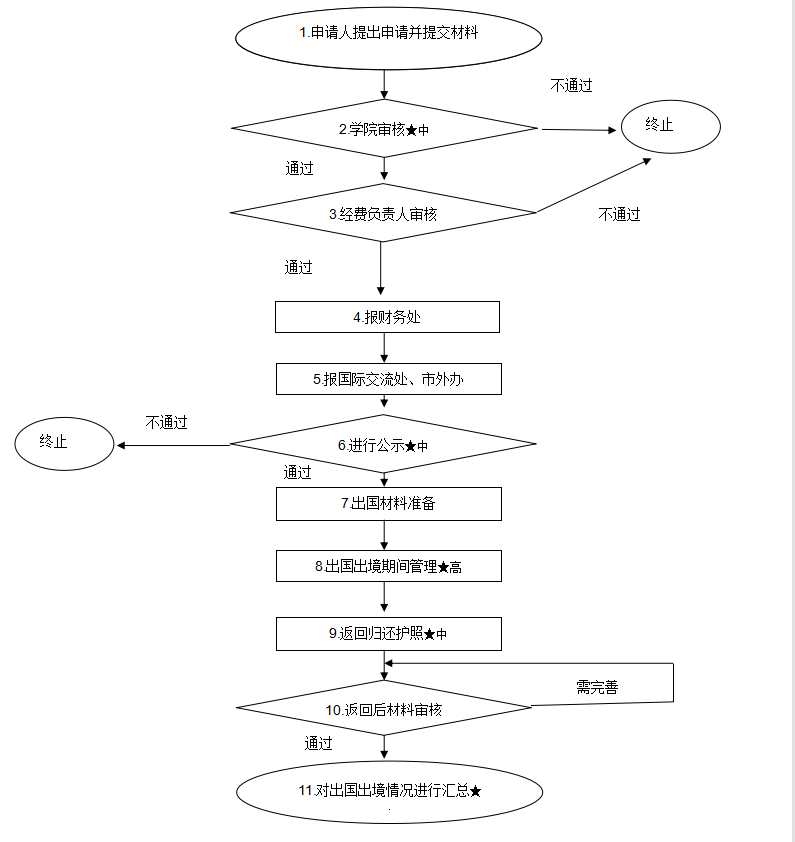
因公出国出境管理工作流程图
发布者:朱佳明
发布时间:2021-07-16
浏览次数:
108
因公出国出境管理工作流程图